The Murphy Bed Was Invented By A Man Who Just Wanted A Date
William Lawrence Murphy was in a pickle.
It was 1900 and he'd just moved to San Francisco — the city was booming, and Murphy, who performed a variety of odd jobs, was there to make his fortune. Like many big-city dwellers whose dreams were more outsized than their budgets, Murphy lived in a one-room apartment, which made it tough to entertain. Family lore has it that Murphy was hopelessly smitten with a young opera singer, desperate to get some alone time with the beauty. But how? His bed took up most of the space in his room, and (remember: it's 1900) he couldn't exactly invite this girl over to hang out and have tea in his bedroom.
Who invented the fold-up bed?
Who invented the fold-up bed?
Luckily for Murphy (and the opera singer, who eventually became his wife), there was a solution. Fold-up beds themselves weren't new: in 1899 an inventor named Leonard C. Bailey filed a patent for a folding bed, but that still left the problem of the fold-up bed itself — wouldn't it still take up space in a small room?
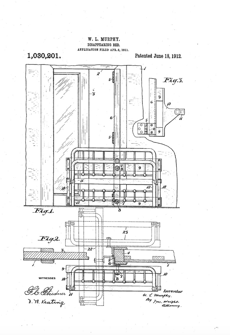
When was the Murphy bed patented?
When was the Murphy bed patented?
That's where Murphy comes in. In 1901, he filed a patent for a folding bed that, through a pivot mechanism of his own invention, also allowed a bed of any size to fold vertically, almost becoming part of the wall itself. He called it the "Disappearing bed," and the Murphy Wall Bed Company was born. Later, a more refined model appeared in 1918, and Murphy moved the company to New York City (it's hard to imagine a place more primed for the introduction of a space-saving invention) in 1925.
When did the Murphy bed become popular?
When did the Murphy bed become popular?
By the time Murphy moved the company to New York, his beds had become not just popular, but famous — in 1916 Charlie Chaplin appeared in a short film where he attempted to fall asleep in his Murphy bed, but found the bed snapping shut on him just as he was about to doze off. While Murphy's patents included a mechanism to prevent this very occurrence, it became an instantly recognizable pop culture sight gag — Chaplin, Laurel and Hardy, and the Three Stooges played with Murphy beds to great comic effect.
When was the Murphy Cabinette invented?
When was the Murphy Cabinette invented?
In 1928, Murphy set out to apply his "out of sight, out of mind" furniture design style to the kitchen with the introduction of the Murphy Cabinette, a small set of kitchen fixtures and appliances that, like the Murphy bed, could become part of the wall when not in use.
The Cabinette never really took off, and the Murphy bed itself cycled in and out of popularity, largely depending on the economy — it faded from the scene in the 1950s (some historians posit that as single-family homes began to dominate the housing market, space-saving became less of a design priority) before having a brief resurgence in popularity in the 1970s.
Where can you find Murphy beds today?
Where can you find Murphy beds today?
It's still possible to find Murphy beds in the wild, sometimes in unexpected places — the Marmara Park Avenue, a luxury Manhattan hotel, offers Murphy beds in some of their guest rooms. The original Murphy Door Bed Company, Inc. (now just the Murphy Bed Company, Inc.) is still in business, but not without some competition — in 1989, a court ruling determined that, like so many other words and phrases borrowed from brands, "Murphy bed" had become the generic term for the folded bed inspired by William Murphy's ardor nearly a century before.

